Transceiver Module
Product Description
MODEL NO. DTR03
1. Frequency : 433.5 MHz
2. Sensitivity : -105 dbm (ASK), -109 dbm (FSK)
3. Current Consumption (RX) : 8.5mA (MAX)
4. Output Power : 10 dbm (10mW)
5. Current Consumption (TX) : 9mA (ASK), 15.5mA (FSK)
6. Working Voltage : 2.8V
7. Modulation : ASK / FSK
8. Data Rate : 20K/s
9. Bandwidth :
10. Reference Distance :
11. Antenna : Helical or Whip
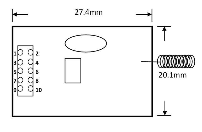
12. Size : 27.4 x 20.1 mm

Product Character
DTR-03 is a radio-frequency transceiver module with integrated antenna, compact in size and easy to use. OEM designer will adjust the frequency and/or bandwidth through SPI pin, which reserve for programming action. It facilitates accomplishing the data transmit and/or receive in a high-noised environment.
PIN Definition
PIN 1: RX_DATA PIN 2: SPIS
PIN 3: TX_RX PIN 4: TX_DATA
PIN 5: AFSK / SPI_DATA PIN 6: CE
PIN 7: BAND / SPI_STB PIN 8: SPI_CLK
PIN 9: GND PIN 10: VCC
Applications
■ Keyless Entry Systems
■ Remote Control Systems
■ Alarm and Security Systems
■ Low Data Rate wireless communication systems